


户用超声波热量表采用微功耗控制技术,通过温度和流量传感器实现对温度和流量的实时采集,同时具有电池低电报警,传感器异常报警等功能;可采用物联网 NB-loT/4G-Cat.1通讯模块将采集的数据上传至运行管理平台,实现对供热用户数据更有针对性、科学性的动态管理,从而提升管理效率和服务水平。
产品概述
户用超声波热量表采用微功耗控制技术,通过温度和流量传感器实现对温度和流量的实时采集,同时具有电池低电报警,传感器异常报警等功能;可采用物联网 NB-loT/4G-Cat.1通讯模块将采集的数据上传至运行管理平台,实现对供热用户数据更有针对性、科学性的动态管理,从而提升管理效率和服务水平。
· 温度采集:通过PT1000采集供回水温度,温度分辨力为0.01℃。
· 通讯功能:M-Bus/NB-IoT/4G-Cat.1通讯方式可选。
· 计量类型:冷热两用,采暖、制冷均可计量。
· 液晶显示:显示累积热量、累积冷量、热功率、进回水温度、温差、累积流量、瞬时流量、上电时间、报警时间等。
· 超低功耗:使用锂电池供电,供电电压3.6V,可使用10年以上。
· 安装简洁:可水平或竖直安装,多角度表头能满足多个视角的读数要求。
· 防护等级:IP68,可适应各种恶劣的安装环境。
技术参数
性能 | 参数 |
准确度等级 | 2级 |
公称通径 | DN15~DN40 |
流量分辨力 | 0.01m³ |
热量分辨力 | 1kWh |
温度分辨力 | 0.01℃ |
显示位数 | 8位 |
最大允许工作压力 | 1.6MPa |
环境温度 | -25℃~55℃ |
电源电压 | DC 3.6V(锂电池) |
产品寿命 | 10年 |
压力损失 | ≤25kPa |
通信方式(可选) | M-Bus/NB-IoT/4G-Cat.1 |
温度范围 | 4℃~95℃ |
温差范围 | 2K~75K |
防护等级 | IP68 |
公称通径 DN(mm) | 量程比 | 流量上限 qs(m³/h) | 常用流量 qp(m³/h) | 流量下限 qi(m³/h) |
15 | 100 | 3.0 | 1.5 | 0.015 |
20 | 5.0 | 2.5 | 0.025 | |
25 | 7.0 | 3.5 | 0.035 | |
32 | 12 | 6.0 | 0.06 | |
40 | 20 | 10 | 0.1 |
外形尺寸图
公称通径 DN(mm) | DN15 | DN20 | DN25 | DN32 | DN40 |
L(mm) | 135 | 135 | 160 | 180 | 200 |
W(mm) | 100 | 100 | 100 | 100 | 100 |
H(mm) | 92 | 100 | 100 | 110 | 118 |
螺纹 | G3/4B | G1B | G1 1/4B | G1 1/2B | G2B |
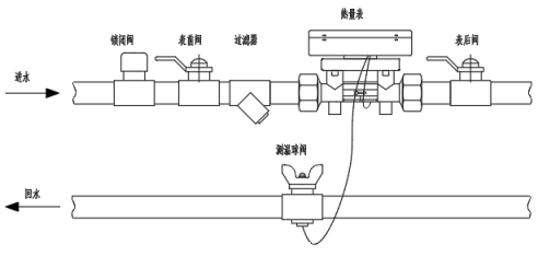
安装示意图
产品推荐